变负载条件下多体折展机翼改进自抗扰控制方法 |
| 韩一凡, 陈柏屹, 刘燕斌, 陈金宝 |
|
Improved Active Disturbance Rejection Control for Multibody Folding Wing Under Variable Loads |
| HAN Yifan, CHEN Boyi, LIU Yanbin, CHEN Jinbao |
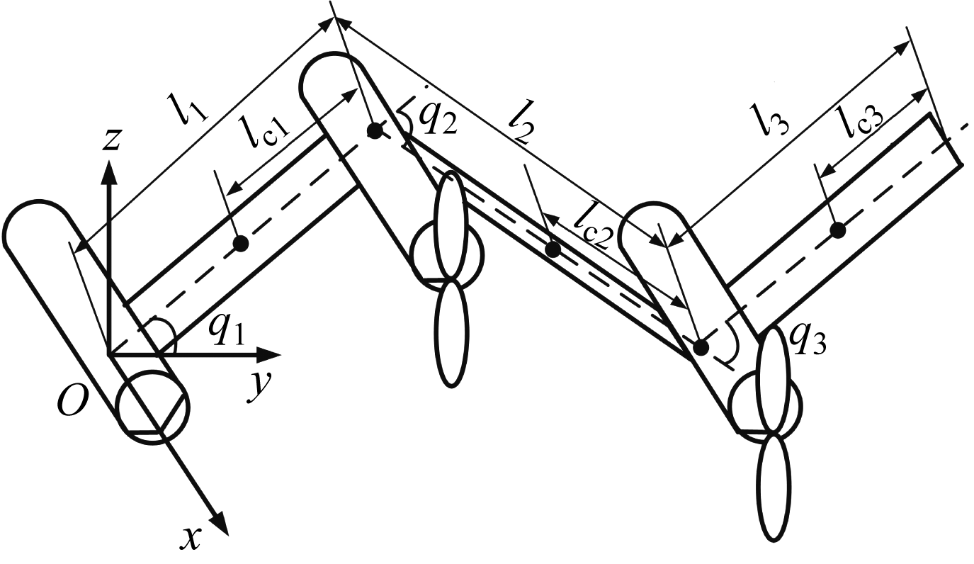
| 图2 多体折展机翼示意图 |
| Fig.2 Diagram of multi-body folding wing |
|